


產品中心
Product Center -
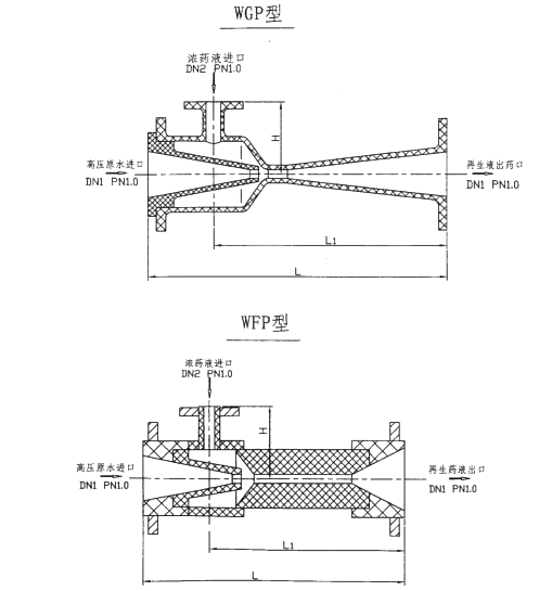
酸堿噴射器
2024-07-09 11:46:49
設備簡介:
本噴射器是用于稀釋再生液的專用設備。WGP型采用耐腐蝕型樹脂為粘結劑,玻璃纖維為增強材料的耐腐蝕材料制造,氯化鈉、氫氧化鈉及鹽酸溶液適用,介質溫度不能高于50℃。WFP型用聚四氟乙烯材料制成,用于硫酸介質。
材質:
塑料(PP、PVC)、玻璃鋼、鋼襯塑、不銹鋼等材質
設備照片:

酸堿噴射器尺寸規格表:






遼寧一諾環境產業集團有限公司
地址:遼寧省北票市經濟技術開發區一諾環保產業園
電話:400-082-9898
手機:18842199977
給我們留言
掃一掃,關注我們
Copyright ? 2020 All Rights Reserved. 遼寧一諾環境產業集團有限公司版權所有 遼ICP備19012322號-3